Austin MiniLynx? 12V SMT 是一款高效、環保、小尺寸的非隔離DC-DC電源模塊,提供高達3A的輸出電流和高達91%的效率,具備可調輸出電壓、低波紋、遠程開關和過流保護等功能,適用于通信、服務器、網絡設備等多種應用場景。
DATEL AA系列1x1封裝DC - DC轉換器高效、高功率密度。其封裝小(1.00 x 1.00 x 0.4英寸),輸出功率達30瓦,效率90%,輸入電壓范圍寬(9 - 36VDC和18 - 75VDC),輸出調節精確,工作溫度范圍為 - 40°C至 + 85°C,有多種保護功能。無鉭電容器設計,有控制功能,滿足EMI標準,應用于多領域,可定制輸出電壓且有國際安全認證,是多種應用的理想選擇。
SDS HIGH VOLTAGE推出的μPRV系列是一款小型、高效的高壓直流/直流轉換器,專為高輸出電壓應用設計,適用于-40°C至+85°C的寬溫度范圍,無需額外散熱器。其特點包括輸出電壓與輸入電壓成比例、小巧的表面貼裝設計、高隔離電壓、優異的溫度和負載穩定性、低紋波輸出及高效率運行。型號包括μPRV24-200、μPRV28-100和μPRV24-250,廣泛應用于工業控制、醫療設備等領域,是高壓電源轉換的理想選擇。
Torex XCL209系列是超小型降壓DC/DC轉換器,集成電感和控制IC,尺寸為2.5mm x 2.15mm x 1.05mm,僅需外接兩電容即可工作,支持Type F(1.8V-6.0V)和Type A/B(2.0V-6.0V)輸入電壓,固定或可調輸出電壓0.8V-4.0V(±2.0%精度),采用PWM/PFM自動切換控制實現高效率,具有CE功能、多種保護及軟啟動等功能,適用于移動設備等場景。
CUI公司的VCD40系列隔離式DC-DC轉換器以40瓦隔離輸出、寬輸入電壓范圍(9V-72V DC)及高效能、高可靠性,成為工業和商業應用中的優選電源解決方案,具備多種輸出選項、高效率、多重保護機制、寬泛的工作溫度范圍及符合安全環保標準,適用于多種場景,且安裝簡便、配置靈活。
VCD30-D12-T512是CUI公司生產的一款三路輸出隔離式DC-DC電源模塊,支持9-18VDC輸入,提供5VDC(3500mA)和±12VDC(±310mA)三路輸出,具有79%的滿載效率和500VDC的隔離電壓,適用于工業自動化、通信設備等需要高可靠性的應用場景。
Murata村田的MYMGK00506ERSR是一款非隔離式DC-DC電源模塊,專為POL應用設計,提供單一輸出。其主要特點包括輸入電壓范圍8V至15V,輸出電壓可調范圍0.7V至5V,最大輸出電流6A,效率高達95.4%,開關頻率300kHz,尺寸為7.5mm x 9mm x 5mm,工作溫度范圍-40℃至85℃,采用Buck電路拓撲,SMD封裝。此外,該模塊還具備快速負載變化響應、過流保護、熱保護、使能控制、電源良好信號等特性,并通過了高可靠性熱沖擊測試,符合CISPR 22 B類傳導發射標準。
Cyntec的MUN12AD01-SG是一款高效、緊湊且易于集成的非隔離型DC-DC轉換器,是替代TI電源模塊TPSM82901、TPS82150、LMZ21701和LMZ12001的優選方案。
Cyntec的MUN123C01-SGB是一款高效、緊湊的非隔離型DC-DC轉換器,具備高集成度和1A輸出電流,輸入電壓范圍為4.5V至16V,固定輸出電壓為3.3V,封裝尺寸僅為3.9mm × 2.6mm × 1.7mm,適用于空間受限的應用。其內部集成了PWM開關穩壓器、高頻功率電感和大部分元件,簡化了設計布局,并具備內部軟啟動、非閉鎖過流保護和輸入欠壓鎖定功能,是TI TPSM861253降壓電源模塊的理想替代方案,尤其適合便攜式設備和緊湊型電子產品。
TPSM86325x,TPSM82913,TPSM843320,TPSM82903,TPS82130降壓電源模塊可用Cyntec的MUN12AD03-SECM,MUN20AD03-SM和MUN12AD03-SH進行替代。
Cyntec的MUN12AD06-SM可對TI TPSM86638,TPSM86637,TPSM843620E,TPSM843620,TPSM5D1806E,TPSM5D1806,TPSM84624,LMZ31506,TPS84621,TPS84620進行參數替代。
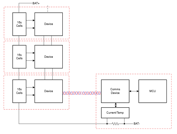
BQ79616是一款16節串聯電池監測器,由TI設計,適用于高壓電池管理系統,主要用于混合動力和電動汽車。其特點包括高精度電池電壓測量(±1.5 mV)、快速測量能力(128 μs內完成所有通道測量)、集成數字低通濾波器和紅外通信功能、支持內部/外部電池均衡(最大240mA)、隔離系統通信(環形架構),以及支持UART/SPI主機接口。該器件主要應用于電池管理系統,封裝為64引腳HTQFP,尺寸為10.00mm x 10.00mm。
MYMGC1R83BFPF2RV是Murata生產的微型非隔離DC-DC電源模塊,尺寸11.9 x 15.0 x 2.4毫米,適用于嵌入式POL應用。最大輸出電流3.2A,輸入電壓3.3V至5.5V,輸出電壓0.85V,效率82%,開關頻率2000kHz,工作溫度-40℃至85℃。具備欠壓鎖定、輸出短路保護、過流保護等功能,適用于FPGA/CPU、數據通信等系統。
APXS006A0X-SRZ非隔離式DC-DC電源模塊是由ABB的OmniOn Power推出的高效能電源解決方案,適用于12V PicoTLynx? 6A應用。它具有寬輸入電壓范圍(4.5V至14V)、可調節的輸出電壓(0.59V至5.5V)、Tunable Loop?技術優化動態響應,并提供多種保護功能和遠程控制選項。該模塊小巧、適應性強,符合環保標準,適用于分布式電源架構、電信設備、服務器、網絡和工業設備等多種場合。
FS1525-0600-AL μPOL嵌入式DC-DC電源模塊,由TDK開發,集成了PWM控制器、MOSFET等,提供25A連續負載能力,支持I2C和PMBus協議,具有多種保護功能,適用于AI、5G、數據中心等高效緊湊應用。
Micro AFD系列DC-DC高壓電源專為APD和SiPM設計,提供0至100V的可調輸出,適用于光電探測等精密應用。其特點包括靈活的輸入電壓選項、高精度輸出、低噪聲和紋波,以及內部限流保護。尺寸緊湊,外殼為金屬屏蔽,確保電磁干擾防護。
深圳立維創展提供COSEL BRFS系列DC-DC電源模塊替代方案?,價格優惠。
德州儀器(TI)的ADC3541、ADC3542和ADC3543是14位分辨率的高速模數轉換器,采樣率從10 MSPS到65 MSPS。這些ADC具有超低功耗、低延遲、高直流精度和寬輸入帶寬,適用于通信系統、無線基礎設施、測試和測量設備等多種應用。支持多種數字濾波器和接口選項,封裝小巧,電源要求低。
PDQ30-Q24-S3-D是CUI公司生產的30W隔離式DC-DC轉換器,采用1英寸x 1英寸(25mmx 25mm)標準封裝,適用于空間受限應用。具備4:1寬輸入電壓范圍,提供單路或雙路穩壓輸出,能效高達90%,五面屏蔽設計減少EMI。支持遠程開/關控制和輸出微調,工作溫度-40°C至+105°C,集成過流、過熱、過壓和短路保護。適用于微控制器、數據通信、電信、遠程傳感系統和便攜式電器等,符合62368安全標準,尺寸1英寸x 1英寸x 0.4英寸(25.4mmx 25.4mmx 10.16mm)。
MYMGM1R824ELA5RN是一款非隔離式DC-DC電源模塊,輸入電壓7.5V至15V,輸出電壓0.7V至1.8V,最大輸出電流24A,效率高達94%。具備過電流、過電壓、欠電壓和過溫度保護,兼容PMBus 1.3。適用于PCIe/服務器、FPGA、數據通訊等應用。
在線留言